favarcat
Expert
I like this sled too much to trade it for something else. I will just be changing the exhaust gaskets every year.
I will have to buy a y-pipe this week. EVERYONE should call customer service about this issue. They will not cover my y-pipe, but at least Yamaha will be aware of the problem and may come up with a fix for it.
I will have to buy a y-pipe this week. EVERYONE should call customer service about this issue. They will not cover my y-pipe, but at least Yamaha will be aware of the problem and may come up with a fix for it.
AttakDog
TY 4 Stroke Junkie
Sorry they didn't cover your pipe favarcat. Not sure why the different response, did take me some time and polite conversation. My dealer also pulled for me. I have owned Yamaha products for over 20 years including street bikes, YZ's I raced in motocross, four wheelers, and snowmobiles since 1987. Other than a short stint with Ski Doo from 96-99 I have had Yamaha snowmobiles ever since, 1 new each year. I know Yamaha asked my dealer what kind of customer I am and I am sure they can look up a history of VIN's. This must have helped me get the 4 Y-pipes and gaskets for nothing. I did the work myself and took the pipes to the dealer so I know it's rare that they would do this, but it's true. I think 3,500-4,000 miles for the donuts will be O.K. but I'll check them sooner and report how the clamp tightening is helping. Just got done writing my thank you #*$&@ kissin' letters to Great Lakes and Yamaha 
ROCKERDAN
OCD Sledhead
- Joined
- Oct 8, 2005
- Messages
- 7,496
- Reaction score
- 3,609
- Points
- 2,003
- Location
- Huntsville Ontario & Niagara NY
- Country
- Other
- Snowmobile
- '18 RTX 50th "Winder"
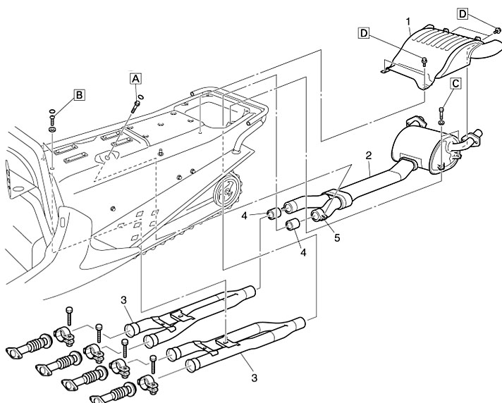
Guys....can someone PLEASE post pics of where their Y piped are cracking and failing.....this may help the cause with YAMMIE warrantee...
I inspected mine today and they SEEM ok all around,although very tricky to see them thoroughly without dropping skid....but with a mirror mine seem ok,probably just loud do to spent donuts that most of us have.
Did someone say they changed to a rubber mounted y pipe on the 08s?...can someone post up some pics of new Y pipe please
I will reinstall new donuts with ultra copper RTV and hope it helps reduce wear on donuts and maybe take some of the pressure of flexing .
thanks
dan
I inspected mine today and they SEEM ok all around,although very tricky to see them thoroughly without dropping skid....but with a mirror mine seem ok,probably just loud do to spent donuts that most of us have.
Did someone say they changed to a rubber mounted y pipe on the 08s?...can someone post up some pics of new Y pipe please
I will reinstall new donuts with ultra copper RTV and hope it helps reduce wear on donuts and maybe take some of the pressure of flexing .
thanks
dan
DoktorC
TY 4 Stroke Master
ROCKERDAN said:Guys....can someone PLEASE post pics of where their Y piped are cracking and failing.....this may help the cause with YAMMIE warrantee...
thanks
dan
Here's mine...
A good indicator of worn donuts is that all the clamps will be vibrated to the down position...
Attachments
ROCKERDAN
OCD Sledhead
- Joined
- Oct 8, 2005
- Messages
- 7,496
- Reaction score
- 3,609
- Points
- 2,003
- Location
- Huntsville Ontario & Niagara NY
- Country
- Other
- Snowmobile
- '18 RTX 50th "Winder"
DoktorC said:Here's mine...
A good indicator of worn donuts is that all the clamps will be vibrated to the down position...
thanks for the pic.....ok so basically the Y pipes are breaking at the flange from the looks of this pic....so I guess since i can see my flanges easily mine must be ok....
i do agree about the clamps turning downward....I had one clamp spun downward and sure enough that was the DONUT that was worn out.....
has anyone considered mounting a rubber washer on the TWO front allen bolts,where they bolt the Y pipes to tunnel?(the ones where you loosen to slide Y pipes back off flex pipes)
I think having a rubber washer there might give a slight amount of "GIVE" to the Y pipes...however,would rubber just melt?...maybe something like urethane spacers?....I wonder how hot that bracket and bolt actually get there?...
good thread guys...good info here.
thanks
Dan
flyingpig
Expert
Where are the y pipes located exactly?
favarcat
Expert
LJ 452
TY 4 Stroke God
Wow I thought mine were bad. As you can see the damage mine incured was not nearly as bad, but enough to consider them toast as they will leak and eventially break. The pic is a little (ok a lot) blurry but inside the red box is the wear hole. Can't really see it until the clamps are off. At least I didn't see it. Before I got the clam off I was jumping up and down, comending myself for not riding on the Sunday after I noticed the sound. Took the clamps off and, well lets just say there were a few less pops in the frig. after that night.
Attachments
trlbrkr
Extreme
I have 1800 miles on my attak and have not checked the pipes yet but wondered if those that have replaced them noticed if the annoying drone around 2500rpms has gone away?
favarcat
Expert
favarcat said:The drone is not from the exhaust gaskets.
Here is a picture where mine is cracked.
Is that cylinder #1? Mine was #1.
favarcat
Expert
#2. The second one in from the left. The picture is actually taken from the bottom. The clamp on the far left was completely loose and turned down, but it wasn't cracked yet. Had 2 gaskets that were almost gone, one half gone, and 1 not as bad.
I see you have alot of miles also. At what mileage did yours happen
and did you change gaskets only once so far?
I will be changing mine every spring when I change the oil and summerize it.
I see you have alot of miles also. At what mileage did yours happen
and did you change gaskets only once so far?
I will be changing mine every spring when I change the oil and summerize it.
ROCKERDAN
OCD Sledhead
- Joined
- Oct 8, 2005
- Messages
- 7,496
- Reaction score
- 3,609
- Points
- 2,003
- Location
- Huntsville Ontario & Niagara NY
- Country
- Other
- Snowmobile
- '18 RTX 50th "Winder"
just wondering.....you guys who got cracks in Y pipes,do you tend to run really hard on rough trails?....i would think this and engine torquing would be the cause primarily....
I am now rethinking grinding down the clamps,as I beleive this might be too much pressure on things and crack them faster....i think I will RTV the new donuts and clamp stock clamps down and let it setup good....hope they last longer with some rtv on them...
poor design i would say....i think we need to come up with something better here.
Dan
I am now rethinking grinding down the clamps,as I beleive this might be too much pressure on things and crack them faster....i think I will RTV the new donuts and clamp stock clamps down and let it setup good....hope they last longer with some rtv on them...
poor design i would say....i think we need to come up with something better here.
Dan
DoktorC
TY 4 Stroke Master
I ride the same trails as you Dan...not REAL rough...
I would think that the cracked ones could be saved by someone that is good with a welder.
I would think that the cracked ones could be saved by someone that is good with a welder.
AttakDog
TY 4 Stroke Junkie
Hey just got on. My pipes are at the dealer and Yamaha is getting them back but I'll try to get pics when I pick up the new pipes tommorrow. Mine are alot worse than any of these pics, especially the RX1. My wife rides that and on our last trip when I was loading up I noticed it. I should get on her sled more often to catch this stuff sooner. IMO i believe you want to get these clamps as tight as possible and let the flex pipe do it's job. At first I thought about Ultra Copper but like someone said it's only good to 600 deg and 700 deg for short periods. Ultra Copper will not last at the temps these pipes reach and putting it in there will cause the clamps to loosen quicker (when the silicone burns off) causing quicker wear of the gaskets. I like the rubber mount idea and it may help but for now better just inspect the gaskets at 3,000-4,000 to be safe!
Similar threads
- Replies
- 4
- Views
- 1K
-
This site uses cookies to help personalise content, tailor your experience and to keep you logged in if you register.
By continuing to use this site, you are consenting to our use of cookies.
